Tube capillaire

Un tube capillaire est un tube très fin ; tellement, qu'un liquide peut monter spontanément à l’intérieur par capillarité. Le mot capillaire signifie ici « fin comme un cheveu ».

En biologie moléculaire

  • Un séquenceur de gènes capillaire utilise des tubes capillaires de verre de quelques microns seulement de diamètre, sur 30 ou 50 cm de longueur, selon l'application de la technique. Les tubes sont ouverts des deux côtés pour permettre le passage du courant électrique. Ils sont souvent recouverts d'une couche de résine, ce qui leur donne une couleur brune et qui augmente leur résistance. Il s'avère que les capillaires, bien qu'en verre, sont souples et peuvent se courber. Si le capillaire est recouvert de résine, il doit y avoir une fenêtre de lecture conservée sans cette couche de résine. Ils peuvent avoir été « coatés ».
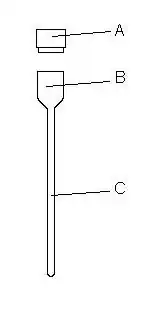
Schéma d'un tube capillaire utilisé en PCR en temps réel. A: bouchon (plastique), B : col évasé (verre), C : corps (verre).
  • Certains modèles d'appareils de PCR en temps réel utilisent des tubes capillaires comme contenant du milieu réactionnel (jusqu'à 20 µl). Ce sont des tubes fermés d'un côté. Le fabricant fournit une centrifugeuse pour correctement dépoter le milieu réactionnel au fond du tube, sans bulles d'air.

Voir aussi

  • icône décorative Portail de la chimie
  • icône décorative Portail de la biologie