Syndrome de Sturge-Weber

Syndrome de Sturge-Weber
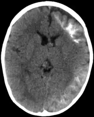
Description de cette image, également commentée ci-après
Tomodensitométrie d'un syndrome de Sturge-Weber
Traitement
Spécialité Génétique médicale
Classification et ressources externes
CIM-10 Q85.8
CIM-9 759.6
OMIM 185300
DiseasesDB 12572
MedlinePlus 001426
eMedicine 1177523
MeSH D013341

Wikipédia ne donne pas de conseils médicaux Mise en garde médicale

Le syndrome de Sturge-Weber (ou SSW) est une maladie congénitale de la peau et du système nerveux, appartenant au groupe de phacomatoses.

Cause

Sa cause est une mutation mosaïque sur le gène GNAQ entraînant une augmentation de l'activité de ce dernier[1].

Une hypothèse est qu'il pourrait résulter d'une mutation somatique intra-utérine affectant le primordium neural antérieur, avant la migration des crêtes neurales céphaliques[2].

Épidémiologie

L'incidence est de 1 cas pour 50 000.

Description

Il se présente sous la forme d'un angiome plan de la région frontale et palpébrale supérieure présent à la naissance, au niveau du territoire d'innervation du nerf ophtalmique (V-1)

Il peut parfois être accompagné de troubles oculaires et neurologiques.

Dans plus de 50 % des cas, la personne touchée par un tel syndrome développera un glaucome du même côté que l'angiome plan facial de la région frontale et palpébrale supérieure, surtout si l'angiome plat (AP) occupe les paupières supérieure et inférieure.

On trouve parfois des anomalies vasculaires du fond d'œil ou une anomalie vasculaire leptoméningée pouvant causer, souvent avant l'âge de 2 ans, une comitialité (chez 75 % des patients ayant des anomalies vasculaires intracrâniennes) et un déficit moteur plus ou moins important de l'hémicorps opposé, avec retard des acquisitions.

Évolution

  • Hémiatrophie cérébrale du même côté que l'angiome plat.
  • Apparition de calcifications en volutes moulant les circonvolutions cérébrales chez l'enfant (rarement chez le nouveau-né ou le nourrisson).

Diagnostic différentiel

Tout angiome plan de la région frontale et palpébrale supérieur (« tache lie-de vin ») n'est pas un syndrome de Sturge-Weber. La tache est présente chez 3 bébés sur 1000 et le syndrome est près de 50 fois plus rare[3]. Lorsque sa topographie correspond au territoire du nerf ophtalmique, la probabilité d'avoir le syndrome est d'environ un quart[4].

Traitement

Le traitement est symptomatique. L'angiome plan peut être atténué par laser pulsé à colorant dès que l'épilepsie est traitée et maîtrisée (anti-convulsivants). En raison du risque de glaucome, des examens ophtalmologiques réguliers sont prescrits de 0 à 2 ans et plus espacés jusqu'à l'âge adulte, même si les premiers examens sont normaux. Un éventuel glaucome peut être traité par la chirurgie. La faiblesse musculaire de l'enfant doit être prise en charge.

Pronostic

La répétition et l'importance des crises d'épilepsie constituent les éléments du pronostic. Ces crises apparaissent généralement précocement (dès la première année de vie) et peuvent avoir des séquelles (paralysies de certaines parties du corps, retard mental, éventuellement sévère).

La neurochirurgie reste rare mais est parfois à envisager dans les cas d'épilepsie réfractaire (ou pharmacorésistante), c'est-à-dire difficilement contrôlable par les médicaments. Les lésions cérébrales générées par l’angiome n'étant pas focalisées, on parlera d'hémisphérotomie.

Notes et références

  1. (en) Shirley MD, Tang H, Gallione CJ, Baugher JD, Frelin LP, Cohen B, North PE, Marchuk DA, Comi AM, Pevsner J, « Sturge-Weber syndrome and port-wine stains caused by somatic mutation in GNAQ », N Engl J Med, vol. 368, no 21, , p. 1971-9. (PMID 23656586, PMCID PMC3749068, DOI 10.1056/NEJMoa1213507, lire en ligne [html])
  2. Fiche Orphanet sur le syndrome de Sturge-Weber.
  3. (en) Comi AM, « Update on Sturge-Weber syndrome: diagnosis, treatment, quantitative measures, and controversies » Lymphat Res Biol. 2007;5:257-264
  4. (en) Ch'ng S, Tan ST, « Facial port-wine stains -- clinical stratification and risks of neuro-ocular involvement », J Plast Reconstr Aesthet Surg. 2008;61:889-893

Liens externes

  • icône décorative Portail de la médecine