Station d'épuration Seine Aval

| Type d'usine | |
|---|---|
| Superficie |
800 ha |
| Opérateur | |
|---|---|
| Date d'ouverture |
1940 |
| Produits |
biogaz, eaux usées traitées |
|---|
| Situation | |
|---|---|
| Coordonnées |
48° 58′ 25″ N, 2° 09′ 56″ E |

La station d'épuration Seine Aval ou station d'épuration d'Achères est la plus grande station d'épuration francilienne. Elle est située dans les Yvelines et occupe les terrains de différentes communes : Achères, Maisons-Laffitte et Saint-Germain-en-Laye.
Elle est exploitée par le Syndicat interdépartemental pour l'assainissement de l'agglomération parisienne (SIAAP).
Cette usine qui traite les effluents d'une partie de l'agglomération parisienne, équivalant à environ 6 millions d'habitants, s'étend sur 800 hectares, couvrant un territoire autrefois inclus dans la forêt de Saint-Germain-en-Laye[1]. La capacité de traitement de la station est en moyenne, par tout temps, de 1 500 000 mètres cubes par jour[2]. En utilisant d'autres unités, sa capacité nominale de traitement est de 7 500 000 équivalents-habitants[3].
Une unité de clarifloculation, qui permet de traiter les phosphores par temps sec, et une unité de traitement de l'azote ont été créées respectivement en 2000 et 2007 pour améliorer la qualité des rejets de la station. L'unité de clarifloculation est détruite par un incendie le .
Créée en 1940, la station d’épuration Seine Aval est actuellement en pleine opération de modernisation[4]. L’objectif est de réhabiliter ses performances concernant le prétraitement et le traitement des eaux usées ainsi que la protection de l’environnement.
Histoire
Mise en service en 1940, la première tranche a été suivie de quatre autres pour passer d'une capacité de retraitement de 200 000 mètres cubes par jour en 1940 à 2 100 000 mètres cubes par jour en 1978. Le projet d'une cinquième tranche a été abandonné en 1990 au profit d'autres sites :
- extension des usines de Noisy-le-Grand et Seine Amont (Valenton) ;
- création de l'usine de Seine-Grésillons à Triel-sur-Seine (Yvelines) ;
- projet d'usine d'assainissement de La Morée au Blanc-Mesnil (Seine-Saint-Denis) ;
- création de plusieurs ouvrages de stockage des eaux unitaires de temps de pluie.
Fonctionnement
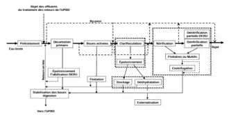
La station d'épuration Seine Aval est organisée en deux sites distincts : une unité de traitement des eaux usées (UPEI : Unité de Production des Eaux et des Irrigations) et une unité de traitement final des boues (UPBD : Unité de Production des Boues Déshydratées)[5],[6]. L’usine est alimentée par 5 grands émissaires qui se regroupent tous en rive droite de la Seine (site de la Frette sur la commune de la Frette-sur-Seine)[6].

Filière de traitement des eaux usées
Le traitement des eaux usées comprend plusieurs étapes. Une première étape, dite de prétraitement, correspond au traitement physique (dégrillage, dessablage et déshuilage) qui vont permettre l’élimination des déchets, des sables et des graisses. Ensuite, au cours du traitement primaire, le carbone, contenu principalement dans les matières organiques, est éliminé par décantation primaire. Enfin, le traitement biologique (ou traitement secondaire), permet d'éliminer le phosphore et l'azote[7].
.png)
Prétraitements
- Dégrillage : En entrée de station, les eaux usées passent à travers des grilles de plus en plus fines. Elles retiennent les déchets volumineux tels que les plastiques, papiers et autres résidus solides. Les déchets collectés sont ensuite évacués vers une usine d'incinération d'ordures ménagères.
- Dessablage-déshuilage : Les sables se déposent au fond des bassins de traitement par décantation. Ils sont ensuite extraits par un système de raclage, puis envoyés vers un centre de nettoyage afin d'être réutilisés. Les graisses remontent à la surface de l'eau par une aération à bulles fines. Une fois récupérées, elles sont envoyées vers un traitement thermique permettant de récupérer la chaleur[5].
Traitement primaire
Par décantation primaire, une première partie de la charge carbonée est éliminée. Effectivement, du fait de la vitesse très lente de l’eau dans le décanteur, les matières en suspension se déposent au fond du réservoir et sont récupérées par un racleur[5].
Traitement biologique (ou traitement secondaire)
Après le prétraitement et la décantation primaire, les effluents passent par les bassins d’aération où la charge carbonée subit un meilleur abattement[6]. Grâce à l’insufflation d’air dans les bassins, des bactéries, naturellement présentes dans l’eau, se multiplient en présence d'oxygène et consomment le carbone. Une étape de clarification consiste ensuite à séparer l’eau clarifiée des flocs de bactéries (boues biologiques) par décantation[5]. Les boues biologiques en excès sont, pour la plupart, épaissies par flottation, une faible fraction étant réintroduite en amont de la décantation primaire[6].
Traitement tertiaire
- Traitement du phosphore par clarifloculation : Le phosphore est présent dans l’eau sous forme dissoute. Grâce à l’injection de chlorure ferrique, la pollution phosphatée passe à l’état de particules qui s’agglomèrent entre elles et se déposent au fond des bassins en décantant[5]. Les décanteurs utilisées sont des décanteurs lamellaires ACTIFLO®[6].
- Traitement de l'azote : la pollution azotée est traitée par deux procédés combinés afin de réaliser la nitrification et la dénitrification. Dans un premier temps, au cours de la nitrification, l’effluent passe à travers des filtres composés de billes de polystyrène. Grâce à l’insufflation d’air, des bactéries nitrifiantes se développent et consomment l'azote ammoniacal et le transforme en nitrate[5]. L’unité de nitrification est constituée de 84 biofiltres de type BIOSTYR® de 173 m² chacun et 3,50 mètres de hauteur de matériau alimentés par pompage[6]. Dans un second temps, pour l'étape de dénitrification, l’eau passe à travers des filtres composés de grains d’argile. Par injection de méthanol, de nouvelles bactéries viennent consommer les nitrates tout en utilisant l’oxygène qu’ils contiennent pour les transformer en azote gazeux qui s’évacue dans l’atmosphère[5].

Filière de traitement des boues
Les différentes étapes de traitement des eaux usées présentées ci-dessus induisent une production de déchets concentrés : les boues d'épuration. Elles sont traités sur site[5].

Prétraitement des boues
Une phase d'épaississement permet de concentrer dans des flottateurs les boues biologiques très liquides. Au départ, la boue est en moyenne à 2 g/L, soit 80 % de matière volatile. Après épaississement sur flottateurs (flottation AII, AIV et AS), elle atteint une concentration d’environ 35 g/L[6]. Elles vont ensuite rejoindre l’étape de digestion[5].
Digestion des boues
La digestion s’effectue dans des cuves fermées, à une température de 35 à 37°C avec un brassage au gaz, en l'absence d'oxygène. Elles subissent une fermentation qui les stabilise sur le plan hygiénique et produit du biogaz réutilisé pour les besoins du site. Après digestion, les boues sont encore très liquides. Elles sont alors envoyées par pompage vers l’Unité de Production des Boues Déshydratées (UPBD)[5],[6].


Post traitement des boues
Les boues digérées sont épaissies dans un ensemble de 12 bassins circulaires de 60 mètres de diamètre. Cette étape permet de concentrer les boues et de réduire leur volume d’environ un tiers. Elles subissent ensuite un conditionnement thermique de type Portéous pour être hygiénisées. Elles sont chauffées à 195°C sous une pression de 20 bars pendant 45 minutes. Une économie d’énergie est réalisée grâce à un échangeur de chaleur qui permet de préchauffer les boues avant leur entrée dans le cuiseur. Les boues sont ensuite strippées afin d'extraire les gaz odorants qu’elles contiennent, puis décantées. Les boues décantées sont filtrées sur des filtres presses, sous une pression de 8 à 10 bars. Les différents procédés de déshydratation produisent une boue contenant en moyenne 50 % de matière sèche[6].

Devenir des boues d'épuration
Les boues déshydratées sont stockées et analysées. Celles qui ne sont pas conformes pour une valorisation agricole (épandage) sont transportées vers des installations de stockage de déchets non dangereux (ISDND)[5],[6].
Usage des boues d'épuration
L'intégralité des boues générées par le traitement des eaux est recyclé dans l'agriculture en substitution d’engrais et d’amendements : soit par épandage direct, soit après compostage[2]. 13 départements de la région parisienne et de son pourtour font usage de ces boues, riches en matières organiques et phosphore, indispensables à la fertilisation des sols[2]. Les boues font l'objet d'analyses hebdomadaires vérifiant leur conformité à la réglementation[8] et de bilans annuels[9].
Critiques
Un article paru dans Le Courrier picard (édition du ) soulève la question des boues d'épurations, qui sont épandues, entre autres, en Picardie. Ces boues seraient chargées de métaux lourds (plomb, mercure, chrome, cadmium), de polychlorobiphényles (PCB) et autres polluants. Elles sont épandues sur des parcelles réservées à la culture. Selon ce même article, en 2007 quelque 3 500 tonnes ont été épandues sur les champs de la Somme, 6 000 tonnes dans l'Oise, et plus de 13 500 tonnes dans l'Aisne.
Incendies accidentels
- 2018 : Un incendie, puis un accident chimique se succèdent en sur le site de Seine-Aval, à Achères, classé Seveso « seuil haut »[10],[11],[12].
- 2019 : Le mercredi , un incendie[13] touchant le bâtiment de clarifloculation a contraint à interrompre le fonctionnement de l'usine dont les flux ont été redirigés vers les autres stations d'épurations du réseau francilien[14] et à la suite duquel, pendant plusieurs mois[15], ont été déversées dans la Seine des eaux usées et partiellement non-traitées, aboutissant ultérieurement à une interdiction des activités nautiques, de pêche et de baignade, motivée par la découverte de trois tonnes de poissons morts[16],[17]. Le bilan a ensuite été réévalué à au moins 7,5 tonnes de poissons et d'algues morts[18]. Cet incendie est le troisième depuis [19] et le 11e accident sur le site depuis le , selon l'association Robin des bois[20]. Le traitement médiatique de cet incendie majeur est jugé insuffisant par quelques médias[20],[21].
Notes et références
- ↑ Voir à ce sujet la Carte de Cassini
- 1 2 3 « Seine Aval », sur seineavaldemain.siaap.fr (consulté le ).
- ↑ « Portail sur l'assainissemeent collectif », sur assainissement.developpement-durable.gouv.fr (consulté le )
- ↑ « Projet de refonte de l'usine Seine Aval | CNDP - Commission nationale du débat public »(Archive.org • Wikiwix • Archive.is • Google • Que faire ?), sur debatpublic.fr (consulté le ).
- 1 2 3 4 5 6 7 8 9 10 11 « Document d'archives du débat public », sur Archives du Débat Public (consulté le )
- 1 2 3 4 5 6 7 8 9 10 11 12 13 14 15 16 17 SIAAP, « Fiche exemple : Station d'épuration Seine Aval - Biogaz », sur Association Technique Énergie Environnement (ATEE), (consulté le )
- ↑ « Usine Seine Aval », sur Site officiel du SIAAP (consulté le )
- ↑ Seine Aval, « Analyses hebdomadaires 2019 », sur bouesseineaval.siaap.fr (consulté le ).
- ↑ Seine Aval, « Bilan de campagne », sur bouesseineaval.siaap.fr (consulté le ).
- ↑ Marc Laimé, « Les eaux glacées du calcul égoïste », sur eauxglacees.com (consulté le ).
- ↑ Jérémy Denoyer, « Saint-Germain-en-Laye : une centaine de pompiers mobilisés sur le site à risques », leparisien.fr, (lire en ligne, consulté le )
- ↑ Joséphine Gruwé-Court, « Yvelines : l’origine de l’incident qui a provoqué un nuage toxique reste inconnue », leparisien.fr, (lire en ligne, consulté le )
- ↑ « Ile-de-France : pollution dans la Seine après l’incendie de l’usine de traitement des eaux », Le Parisien, (lire en ligne)
- ↑ « La principale station d'épuration d'Île-de-France à l'arrêt après un incendie », sur FIGARO (ISSN 0182-5852, consulté le ).
- ↑ « Achères : la station d'épuration du syndicat interdépartemental d'assainissement mise à l'épreuve ».
- ↑ « Trois tonnes de poissons morts dans la Seine : sur les berges, c’est l’inquiétude », Le Parisien, (lire en ligne)
- ↑ « Des tonnes de poissons morts dans la Seine après l’incendie d’une station d’épuration dans les Yvelines », sur Le Monde.fr, Le Monde, (ISSN 1950-6244, consulté le ).
- ↑ "L'incendie de l'usine Seine Aval et ses conséquences", Magazine VAC (Vivre à Conflans), septembre 2019, page 19
- ↑ « Yvelines : important incendie dans une station d'épuration classée à risque », sur LExpress.fr, lexpress, (consulté le ).
- 1 2 « Omerta sur une catastrophe industrielle majeure aux portes de Paris », sur Le Monde diplomatique, (consulté le ).
- ↑ « "Seine aval", l'autre catastrophe écologique escamotée au 20h », sur Arrêt sur images (consulté le ).
Voir aussi
Articles connexes
Liens externes
- Portail de l'assainissement
- Portail de l’eau
- Portail des Yvelines
- Portail de l’Île-de-France