Oscillateur Hartley

L'oscillateur Hartley, inventé par Ralph Hartley[1], est l'une des nombreuses configurations possibles d'oscillateur électronique. L'oscillateur Hartley est le dual de l'oscillateur Colpitts. Il est relativement peu utilisé du fait qu'il nécessite une prise sur une inductance. Une variante consiste à utiliser deux inductances séparées, ce qui est généralement onéreux.
Histoire

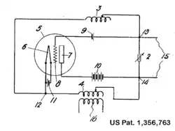
L'oscillateur Hartley a été inventé par Hartley alors qu'il travaillait pour le laboratoire de recherche de la Western Electric Company . Hartley a inventé et breveté le concept en 1915 alors qu'il supervisait les essais de radiotéléphonie transatlantique de Bell System, le brevet a été délivré sous le numéro 1 356 763 le 26 octobre 1920[2]. Le schéma de base est essentiellement le même que celui du brevet, sauf que le tube est remplacé par un JFET et que la pile pour une polarisation négative de la grille n'est pas nécessaire.
En 1946, Hartley s'est vu décerner la médaille d'honneur de l'Institute of Radio Engineers (en) « pour ses premiers travaux sur les circuits oscillants utilisant des tubes triodes et, de même, pour sa reconnaissance précoce et son exposition claire de la relation fondamentale entre la quantité totale d'informations pouvant être transmise par un système de transmission à largeur de bande limitée et le temps nécessaire[3]. » La seconde moitié de la citation fait référence aux travaux de Hartley en matière de théorie de l'information, qui sont largement parallèles à ceux de Harry Nyquist.
Fonctionnement
L'oscillateur de Hartley se distingue par un circuit LC constitué de deux bobines connectées en série (ou, souvent, d'une bobine à prise) en parallèle avec un condensateur, avec un amplificateur entre l'impédance relativement élevée de l'ensemble du circuit LC et le point de tension ou de courant relativement faible entre les bobines. La version originale de 1915 utilisait une triode comme dispositif d'amplification en configuration à plaque commune (cathode suiveuse), avec trois piles et des bobines réglables séparées. Le schéma de principe illustré en haut utilise un JFET (dans une configuration à drain commun), un circuit LC (ici, l'enroulement unique est pris) et une seule pile. Le circuit illustre le fonctionnement de l'oscillateur de Hartley:
- la sortie de la source (émetteur, si un transistor bipolaire a été utilisé, cathode pour une triode) du JFET a la même phase que le signal à sa grille (ou base) et approximativement la même tension que son entrée (qui est la tension à travers le circuit bouchon entier), mais le courant est amplifié, c'est-à-dire qu'il agit comme un buffer de courant ou une source de tension contrôlée par la tension.
- Cette sortie à faible impédance est ensuite alimentée dans la prise de la bobine, en fait dans un autotransformateur qui augmentera la tension, nécessitant un courant relativement élevé (comparé à celui disponible au sommet de la bobine).
- avec la résonance condensateur-bobine, toutes les fréquences autres que la fréquence accordée auront tendance à être absorbées (le circuit bouchon apparaîtra comme proche de 0Ω en continu (DC) en raison de la faible réactance de l'inducteur aux basses fréquences, et de nouveau faible impédance aux très hautes fréquences en raison du condensateur) ; elles décaleront également la phase de la rétroaction de 0° nécessaire à l'oscillation à toutes les fréquences sauf celle accordée.
Les variations du circuit simple comprennent souvent des moyens de réduire automatiquement le gain de l'amplificateur pour maintenir une tension de sortie constante à un niveau inférieur à la surcharge ; le circuit simple ci-dessus limitera la tension de sortie en raison de la conduction de la grille sur les pics positifs, ce qui amortit efficacement les oscillations, mais pas avant qu'une distorsion importante (harmoniques parasites) ne se produise. En remplaçant la bobine à prise par deux bobines séparées, comme dans le schéma original du brevet, on obtient toujours un oscillateur fonctionnel, mais maintenant que les deux bobines ne sont pas couplées magnétiquement, le calcul de l'inductance, et donc de la fréquence, doit être modifié (voir ci-dessous), et l'explication du mécanisme d'augmentation de la tension est plus compliquée que le scénario de l'autotransformateur.
Une mise en œuvre tout à fait différente utilisant une bobine taraudée[Quoi ?] dans un dispositif de rétroaction à circuit fermé LC consiste à utiliser un étage amplificateur à grille commune (ou à grille commune ou à base commune)[4], qui est toujours non inverseur mais fournit un gain en tension au lieu d'un gain en courant ; la prise de la bobine est toujours connectée à la cathode (ou source ou émetteur), mais il s'agit maintenant de l'entrée (à faible impédance) de l'amplificateur ; le circuit LC diminue maintenant l'impédance de l'impédance de sortie relativement élevée de la plaque (ou drain ou collecteur).

L'oscillateur Hartley est le circuit miroir de l'oscillateur Colpitts qui utilise un diviseur de tension composé de deux condensateurs plutôt que de deux inductances. Bien qu'il ne soit pas nécessaire qu'il y ait un couplage mutuel entre les deux segments de bobine, le circuit est généralement mis en œuvre en utilisant une bobine à prise, avec la rétroaction prise à partir de la prise, comme indiqué ici. Le point de raccordement optimal (ou le rapport des inductances des bobines) dépend du dispositif d'amplification utilisé, qui peut être un transistor bipolaire, un FET, une triode ou un amplificateur de presque n'importe quel type (non inverseur dans ce cas, bien que des variantes du circuit avec un point central mis à la terre et une rétroaction d'un amplificateur inverseur ou du collecteur/drain d'un transistor soient également courantes), mais un JFET ou une triode sont souvent utilisés car un bon degré de stabilité de l'amplitude (et donc de réduction de la distorsion) peut être obtenu avec une simple combinaison résistance-capacité de fuite de grille en série avec la grille grâce à la conduction de la diode sur les pics du signal qui crée une polarisation négative suffisante pour limiter l'amplification.

La fréquence d'oscillation est approximativement la fréquence de résonance du circuit bouchon. Si la capacité du condensateur du circuit est et si l'inductance totale de la bobine de prise est , alors
Si deux bobines non couplées d'inductance L1 et L2 sont utilisées alors
Cependant, si les deux bobines sont couplées magnétiquement, l'inductance totale sera plus grande en raison de l'inductance mutuelle k[5]
La fréquence d'oscillation réelle sera légèrement inférieure à celle indiquée ci-dessus, en raison de la capacité parasite de la bobine et de la charge du transistor.
- Avantages de l'oscillateur Hartley
- La fréquence peut être réglée à l'aide d'un seul condensateur variable, dont un côté peut être mis à la masse ;
- L'amplitude de sortie reste constante sur la gamme de fréquences ;
- Il faut soit une bobine taraudée, soit deux inductances fixes, et très peu d'autres composants ;
- Il est facile d'obtenir une stabilité précise de circuit oscillateur à quartz à fréquence fixe en remplaçant le condensateur par un cristal de quartz (à résonance parallèle) ou en remplaçant la moitié supérieure du circuit LC par un cristal et une résistance de fuite de grille (comme dans l'oscillateur Tri-tet (en)).
- Inconvénients
- Sortie riche en harmoniques si elle provient de l'amplificateur et non directement du circuit LC (sauf si un circuit de stabilisation d'amplitude est utilisé).
Articles connexes
Références
- ↑ (en) Brevet U.S. 1356763
- ↑ « Patent US1356763: Oscillation-generator », United States Office Patent (consulté le )
- ↑ « Ralph Hartley », sur Engineering and Technology History Wiki (consulté le )
- ↑ Eric Coates, « The Hartley Oscillator », sur Learnabout electronics (consulté le )
- ↑ Jim McLucas, Hartley oscillator requires no coupled inductors, EDN October 26, 2006 « Archived copy » [archive du ] (consulté le )
- (en) Cet article est partiellement ou en totalité issu de l’article de Wikipédia en anglais intitulé « Hartley oscillator » (voir la liste des auteurs).
- Portail de l’électricité et de l’électronique