Jagadish Chandra Bose
| Knight Bachelor | |
|---|---|
| à partir de |
| Naissance | Bikrampur (en) (présidence du Bengale, Raj britannique) |
|---|---|
| Décès |
(à 78 ans) Giridih (présidence du Bengale, Raj britannique) |
| Nom dans la langue maternelle |
জগদীশ চন্দ্র বসু |
| Nationalité | |
| Formation |
Christ's College Collège Saint-Xavier de Calcutta Dhaka Collegiate School (en) Mymensingh Zilla School (en) Université de Londres St. Xavier's College (Calcutta) (en) Hare School (en) University College de Londres Pabna Zilla School, Pabna (en) |
| Activités | |
| Fratrie |
Labanyaprabha Bose (en) |
| Conjoint |
Abala Bose (à partir de ) |
| A travaillé pour | |
|---|---|
| Membre de |
Royal Society Indian National Science Academy (en) |
| Directeur de thèse | |
| Distinctions |
Abyakta (d) |

Jagadish Chandra Bose, né le à Bikrampur, Bengale (aujourd'hui au Bangladesh) et mort le à Giridih, Bengale (aujourd'hui dans l'État du Jharkhand en Inde), est un physicien et botaniste, pionnier de la radio. Éclectique, en 1902 il suggère l'existence de parallèle entre les réponses physiologiques observées dans le Vivant et certaines réponses électrochimiques observées dans le non-vivant.
Après ses travaux de physicien sur les ondes, il fait des découvertes pionnières en physiologie végétale, découvrant des réponses de plantes à divers stimuli, dans une certaine mesure, parallèles, à celles observées dans les tissus animaux.
Il invente et construit des enregistreurs automatiques détectant des mouvements infimes, apportant des résultats frappants, tels le frémissement des plantes blessées, qui ont permis à Bose de préciser la notion de perception par les plantes : dans la lignée des travaux de L'abbé Bertholon (1741-1800), il évoque explicitement, en 1926, l'existence d'une sorte de « mécanisme nerveux » chez les plantes.
Bose n'a breveté qu'une seule de ses inventions (sous la pression de ses pairs) mais son objection à toute forme de brevet et un certain mépris pour l'argent étaient connus.
En 2004, un sondage de la BBC classe Bose comme septième « plus grand Bengali de tous les temps »[1].
Biographie
Il passe son enfance à Faridpur, où son père est magistrat.
À neuf ans, il entre au collège Saint-Xavier, où il a comme professeur le jésuite Eugène Lafont, qui jouera un rôle important dans son intérêt pour les sciences.
Après une licence obtenue en 1879 à l'université de Calcutta, Bose se rend en Grande-Bretagne en 1880 et commence des études de médecine à l'université de Londres, qu'il doit interrompre au bout d'un an pour raison de santé, ses crises de malaria lui rendant la vie difficile. L'année suivante, il intègre Christ's College de Cambridge, où il fait des études de physique auprès de professeurs aussi prestigieux que Lord Rayleigh, Sir James Dewar, Sir Michael Foster et Francis Darwin.
Son diplôme en poche, il retourne à Calcutta et obtient un poste de professeur de physique au Presidency College de la ville, où il enseignera et conduira des recherches durant les trente années qui suivront. Toutefois, lors de son recrutement, l'administration ne lui propose que la moitié du salaire versé aux enseignants britanniques. Bose refuse et vient travailler trois ans, sans manquer une seule journée et sans être payé. À l'issue de cette période, le principal Twany et le directeur Croft recommandent qu'il soit payé au plein salaire et ce, depuis son intégration dans l'établissement.
Suivant l'exemple de Rayleigh, il fait un usage important de l'expérimentation durant ses cours et laisse le souvenir d'un professeur passionnant. Il aura en particulier comme élève Satyendranath Bose (ce dernier, avec lequel il n'a aucun lien de parenté, étant connu pour la statistique de Bose-Einstein).
Il a principalement consacré sa vie de chercheur à deux domaines d'étude : les ondes électromagnétiques et (à partir de 1902, exclusivement) la physiologie végétale.
En 1905, il est fait chevalier et porte le titre de Sir.
Il prend sa retraite universitaire en 1915 (mais reste professeur émérite durant cinq ans).
Il fonde à Calcutta l'Institut Bose, le premier institut de recherche scientifique de l'Inde, inauguré le .
Recherches sur les ondes électromagnétiques


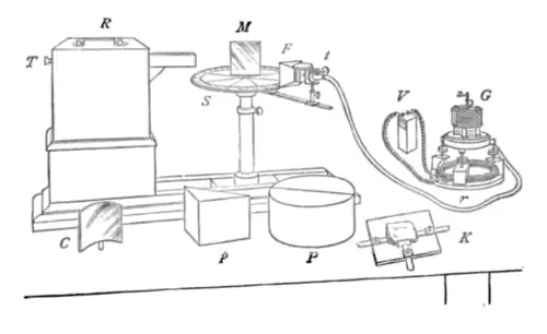
Le détecteur à galène se trouve dans l'antenne cornet (F).
La batterie (V) crée un courant circulant au travers du détecteur. Ce courant est mesuré par le galvanomètre (G)
De 1894 à 1900, Bose réalise une série de travaux pionniers sur les ondes électromagnétiques. Il explore ce domaine en même temps que Tesla, lequel sera crédité de l'invention de la radio.
En , il effectue sa première démonstration publique de manipulation et utilisation d'ondes radio : il utilise un flux de micro-ondes pour faire sonner une cloche à distance, et pour faire exploser une charge de poudre.
En 1896, le Daily Chronicle of England informe ses lecteurs que « l'inventeur (J.C. Bose) a transmis des signaux à une distance d'environ un mile et, ainsi, fourni la première démonstration des applications pratiques de cette nouvelle théorie merveilleuse. » Popov, en Russie, fait alors des expériences similaires, mais écrit près de 10 ans plus tard (en décembre 1895) qu'il entretient toujours l'espoir de transmettre un signal à distance par ondes radio.
Au cours de ses travaux, Bose produit des ondes courtes de 5mm. Il étudie la réfraction, la diffraction et la polarisation des ondes.
Il utilise aussi la galène pour construire une forme primitive de diode semiconductrice qu'il utilise comme détecteur d'ondes (de micro-ondes).
Pour étudier les micro-ondes (et leurs effets sur les cellules végétales et les plantes) il crée (vers 1897) un appareil couplant un émetteur et un récepteur de micro-ondes (illustration ci-contre). Un émetteur à éclateur (à droite dans la photographie ci-contre) utilisait un radiateur à éclateur composé de trois minuscules billes métalliques de 3mm excitées par la haute tension d'une bobine d'induction. Cet appareil générait des micro-ondes à 60 GHz. Cet émetteur était enfermé à l'intérieur d'un boîtier métallique de bronze, afin d'empêcher les étincelles de la bobine interrupteur de perturber l'action du récepteur ; le flux de micro-ondes était canalisé par un guide d'ondes (le tube métallique visible sur la photo).
Le récepteur (à gauche dans la photographie ci-contre) utilisait un contact ponctuel de galène (redresseur de cristal) à l'intérieur d'une antenne cornet (qui sera perfectionnée 40 ans plus tard par Wilmer L. Barrow, en 1938), et un galvanomètre détectant les ondes. Sa version imite délibérément le globe oculaire humain (biomimétisme), avec une lentille focalisant des ondes millimétriques sur le contact de la galène.
Bose invente à cette occasion le détecteur à cristal, un composant électronique[2] qui sera très utilisé dans certains récepteurs radio du début du XXe siècle : un morceau de minéral cristallin utilisé pour redresser le signal radio en courant alternatif et utilisé comme détecteur (démodulateur) pour extraire la modulation audio pour produire le son dans les écouteurs[3],[4] C'était l'ancêtre de la diode semi-conductrice[3],[5] et l'un des premiers dispositifs électroniques semi-conducteurs[6].
Dans le modèle figurant sur l'image ci-contre, le galvanomètre (à gauche dans l'image) et la batterie sont respectivement un galvanomètre et une pile modernes, ajoutés à l'appareil original de Jagadish Chandra Bose, chercheur qui fut le premier à inventer et utiliser le détecteur à cristal, l'antenne en cornet, la lentille diélectrique et d'autres composants encore utilisés de nos jours dans les appareils à micro-ondes.
Le musée Jagadish Chandra Bose, basé dans le Bose Institute de Kolkata, présente au public certains des instruments conçus, fabriqués et utilisés par Sir J.C Bose (avec ses effets personnels, ses souvenirs et une exposition sur sa vie et ses œuvres).
En 1954, Gerald Pearson et Walter Houser Brattain, dans leur « Histoire de la recherche sur les semiconducteurs », reconnaîtront l'antériorité des travaux de Bose dans l'utilisation des cristaux semi-conducteurs comme détecteurs des ondes radio.
Sir Neville Mott (lauréat du prix Nobel de physique de 1977) affirmera : « J.C. Bose avait soixante ans d'avance sur son temps » et « En fait, il anticipa, les semi-conducteurs de type-P et de type-N ».
Étude des plantes (réponse cellulaire à divers stimuli)


Après 1900, Bose se dédie à l'un de ses centres d'intérêt de longue date : la physiologie végétale et plus particulièrement l'électrophysiologie chez les végétaux supérieurs. Là encore, il produit des travaux pionniers, sur la croissance végétale et la réaction des plantes à divers stimuli, et aux ondes électromagnétiques.
Il conçoit des instruments d'observation très fins de ces effets, en particulier un dispositif appelé crescographe, qu'il utilise pour évaluer la croissance et la réaction des végétaux, et qui est capable de les amplifier jusqu'au cent-millième de pouce dans un premier temps puis au dix-millionième de pouce. Pour comprendre les mouvements héliotropes des plantes qui se tournent vers le soleil (ou vers une source lumineuse), Bose invente un enregistreur de torsion, qui lui permet d'étudier comment la lumière appliquée d'un côté du tournesol fait réagir la plante du côté opposé.
Il utilise notamment comme espèces-modèle le tournesol (car héliotrope), et deux « plantes sensitives » Mimosa pudica (qui replie rapidement ses feuilles en cas de contact physique, et qui est encore aujourd'hui utilisée comme plante modèle)[7],[8] et le sainfoin oscillant (Desmodium gyrans depuis renommé Codariocalyx motorius) dont on a depuis montré que le mouvement de ses feuilles peut aussi être déclenché par certaines ondes sonores[9],[10],[11],[12].
On estime généralement que sa contribution majeure à la biophysique a été la démonstration de la nature « électrique » de la conduction de divers stimuli dans les plantes (par exemple à la suite de l'exposition d'une feuille ou de toute la plante à un stimulus « tactile », ou à un stress de type blessure, radioactivité, anesthésique, poison ou autre agent chimique).
On pensait auparavant que la conduction des informations dans le végétal était de nature purement chimique. Ses hypothèses sur la réaction des plantes aux blessures ont ensuite été expérimentalement confirmées[13].
Bose a documenté une courbe de réponse électrique caractéristique des cellules végétales à un stimulus électrique. Il note aussi une diminution voire l'inhibition totale de cette réponse chez les plantes traitées avec des anesthésiques ou certains poisons.
Une autre contribution importante de Bose à l'électrophysiologie et à la physiologie végétale a été l'étude des effets des micro-ondes (il avait inventé un générateur de micro-onde) dans les tissus végétaux, et des modifications correspondantes du potentiel des membranes cellulaires.
Bose a aussi étudié le mécanisme de l'effet des saisons sur les plantes ; de l'effet d'inhibiteurs chimiques sur les stimuli végétaux, et de l'effet de la température et de la lumière.
Observations sur la fatigue et de la résilience dans le monde vivant et non vivant (métaux)
À partir de 1902, Bose focalise son attention sur les plantes, mais sans se désintéresser de la physique et en particulier des métaux et à leurs interactions avec l'environnement, comme en témoigne par exemple un article de 1902 sur l'onde électromotrice accompagnant une perturbation mécanique dans les métaux en contact avec l'électrolyte [14]. Après avoir soumis des métaux à une combinaison de stimuli (mécaniques, thermiques, chimiques et électriques), il observe certaines similitudes, qui l'intriguent, entre les réactions des métaux et celles des cellules vivantes.
Ses expériences portent sur la « réponse » à un cycle de fatigue (pour les métaux) et de stress physiologique (pour les plantes), et sur les réponses de récupération, que Bose montre être distinctives selon le type de stimuli, dans les cellules vivantes et les métaux. Il note ainsi des similitudes dans la réduction de l'élasticité entre les fils métalliques refroidis et les cellules organiques, ainsi qu'un impact sur le temps de récupération[15],[16].
Motivations, et point de vue sur l'argent
Quand il travaille sur les ondes radio, et invente la radio, à la différence de Marconi ou d'autres, Bose n'a aucun intérêt pour la commercialisation de sa découverte ; il affirme ne vouloir travailler qu'au développement de la connaissance scientifique.
En 1901, après l'arrêt de ses travaux sur les ondes, il écrit à Tagore : « J'aimerais que vous puissiez voir le terrible attachement que l'on a dans ce pays pour le profit… cette convoitise pour l'argent… Si j'avais mis le doigt dans cet engrenage, il n'y aurait plus eu d'échappatoire pour moi » (« I wish you could see that terrible attachment for gain in this country… that lust for money… Once caught in that trap there would have been no way out for me ») ».
Science fiction
En 1896, Bose publie Niruddesher Kahini (L'histoire du disparu), une nouvelle qui a ensuite été complétée, et ajoutée à la collection Abyakta (অব্যক্ত) en 1921, avec comme nouveau titre Palatak Tuphan (Runaway Cyclone).
Ces textes comptent parmi les premières œuvres de science-fiction bengalis[17],[18].
La nouvelle a été traduite en anglais par Bodhisattva Chattopadhyay[19].
Notoriété, récompenses
Jagadish Chandra Bose est plusieurs fois honoré pour ses travaux, le gouvernement britannique lui décerne en 1903 le Companionship of the British Empire (CBE), il reçoit le Companionship of the Star of India (CSI) en 1912. De plus, il se voit décerner des doctorats honoris causa par les universités de Calcutta, Vârânasî et Dhâkâ. La Royal Society lui donne le titre de Fellow.
La revue Nature a publié 27 de ses articles : un nombre important comparé à celui des publications des plus grands chercheurs.
Références
- ↑ —« Listeners name 'greatest Bengali' », BBC, (lire en ligne, consulté le )
—Haroon Habib, « International : Mujib, Tagore, Bose among 'greatest Bengalis of all time' », The Hindu, (lire en ligne)
—« Bangabandhu judged greatest Bangali of all time », sur The Daily Star, - ↑ Braun, Agnès; Braun, Ernest; MacDonald, Stuart (1982). Revolution in Miniature: The History and Impact of Semiconductor Electronics. Cambridge University Press. voir p. 11–12. (ISBN 978-0521289030).
- 1 2 Malanowski, Gregory (2001). The Race for Wireless: How Radio was Invented (or Discovered). AuthorHouse. p. 44–45. (ISBN 978-1463437503).
- ↑ Sievers, Maurice L. (1995). Crystal Clear: Vintage American Crystal Sets, Crystal Detectors, and Crystals, Vol. 1. Sonoran Publishing. voir p. 3–5. (ISBN 978-1886606012).
- ↑ Hickman, Ian (1999) Analog Electronics. Newnes. p. 46. (ISBN 978-0750644167).
- ↑ Lee, Thomas H (2004) Planar Microwave Engineering: A Practical Guide to Theory, Measurement, and Circuits, Vol. 1. Cambridge University Press. p. 4–9, 297–300. (ISBN 978-0521835268).
- ↑ Volkov, A. G., Foster, J. C., Ashby, T. A., Walker, R. K., Johnson, J. A., & Markin, V. S. (2010). Mimosa pudica: electrical and mechanical stimulation of plant movements. Plant, cell & environment, 33(2), 163-173.
- ↑ Volkov, A. G., Foster, J. C., & Markin, V. S. (2010). Signal transduction in Mimosa pudica: biologically closed electrical circuits. Plant, cell & environment, 33(5), 816-827.
- ↑ « Ça vaut le coup d'œil », Science et vie junior, no 332, , p. 26
- ↑ Francis Hallé, Éliane Patriarca, Atlas de botanique poétique, Arthaud, , 128 p.page 66
- ↑ (en) Gloria Marino, « BLOOM OF THE WEEK - THE TELEGRAPH PLANT », sur nature.berkeley.edu, (consulté le )
- ↑ (en) P.Nagendra Prasad, V.N.Meena Devi, L.Arul Mary Syndia, M. Rajakohila, V.N. Ariharan, « ETHNOBOTANICAL STUDIES ON THOZHUKANNI AND AZHUKANNI AMONG THE KANIKKARS OF SOUTH INDIA Review Article », sur studylib.net, (consulté le )
- ↑ (en) D. C. Wildon, J. F. Thain, P. E. H. Minchin et I. R. Gubb, « Electrical signalling and systemic proteinase inhibitor induction in the wounded plant », Nature, vol. 360, no 6399, , p. 62–65 (ISSN 0028-0836 et 1476-4687, DOI 10.1038/360062a0, lire en ligne, consulté le )
- ↑ (en) « On electromotive wave accompanying mechanical disturbance in metals in contact with electrolyte », Proceedings of the Royal Society of London, vol. 70, nos 459-466, , p. 273–294 (ISSN 0370-1662 et 2053-9126, DOI 10.1098/rspl.1902.0029, lire en ligne, consulté le )
- ↑ Response in the Living and Non-Living by Sir Jagadis Chandra Bose – Project Gutenberg. Gutenberg.org (3 August 2006)
- ↑ Bose, J. C. (1902). Response in the Living and Non-living. Longmans, Green, and Company. |url=https://books.google.com/books?id=w2Nxr7IuQ_4C
- ↑ "[Bengal]". The Encyclopedia of Science Fiction
- ↑ "Symposium at Christ's College to celebrate a genius". University of Cambridge. 27 November 2008
- ↑ Jagadish Chandra Bose. "Runaway Cyclone". Bodhisattva Chattopadhyay. Strange Horizons.
Voir aussi
Bibliographie
- G. Pearson et W. Brattain, « History of Semiconductor Research », Proceedings of the IRE, vol. 43, no 12, , p. 1794–1806 (ISSN 0096-8390, DOI 10.1109/JRPROC.1955.278042, lire en ligne, consulté le )
- (en) University of Michigan, The Principles of Electric Wave Telegraphy, Longmans, Green, and co., (lire en ligne)
- Louis Frédéric, Dictionnaire de la civilisation indienne, Robert Laffont, , 1276 p. (ISBN 2-221-01258-5)
Article connexe
Liens externes
- Ressources relatives à la recherche :
- Ressource relative à la littérature :
- Ressource relative à la santé :
- Notices dans des dictionnaires ou encyclopédies généralistes :
- (en) The Work of Jagadish Chandra Bose. 100 Years of MM-Wave Research
- (en) The Torch Bearers of Indian Renaissance
- Portail du monde indien
- Portail de la physique
- Portail de l’histoire de la zoologie et de la botanique
- Portail des télécommunications
- Portail de la botanique