Frein de voie

Un frein de voie ou ralentisseur est un dispositif qui assure le freinage de wagons lancés sur les voies d’une gare de triage après la descente de la butte.

Rôle

Le convoi composé de wagons dételés sur le faisceau de réception est poussé par une locomotive de manœuvre jusqu’au sommet de la butte d’une hauteur de 2 mètres à 3,75 mètres d’où les wagons redescendent, isolément ou par groupes, et sont aiguillés sur la voie du faisceau de triage qui correspond au convoi auquel ils sont destinés. La vitesse doit être, dans tous les cas, suffisante pour éviter le rattrapage par les wagons arrivant à l’arrière et atteindre les tampons du wagon de queue sans arrêt en pleine voie. Cette vitesse variable suivant le poids du wagon, le vent, la qualité du roulement étant presque toujours excessive nécessite un ralentissement pour éviter les heurts violents en arrivant à l’arrière du convoi de destination.

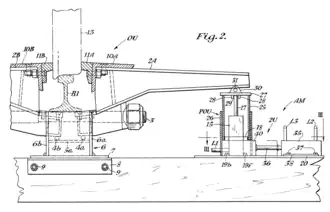
Ce freinage est assuré par les freins de voies actionnés par un agent de la cabine sur la butte, le « chef de butte ». Ces freins sont constitués par des poutres longues de 15 à 20 mètres qui serrent, par commande hydraulique ou pneumatique, les bandages de roues engagées dans ces ornières entre les rails[1].

Actuellement, l’intensité du freinage est réglée par ordinateur en fonction de la vitesse et du poids du wagon.

Deux séries de freins sont généralement placés successivement sur le parcours, les freins de rampe qui assurent un freinage anticipé après la mesure de vitesse et les freins en aval qui fournissent une réserve de puissance de freinage au passage de wagons lourds. Certains dispositifs tels que le « booster Dowty » peuvent exercer, outre le freinage, également une action d'accélération suivant les besoins[2].

Histoire

Jusqu’au début du XXe siècle, les wagons des triages étaient freinés par des sabots posés sur le rail par les enrayeurs. Ce travail par tous les temps était pénible et dangereux. L’enrayeur estimait le moment et l’endroit où placer le sabot à l’arrivée d’un wagon roulant parfois à 30 kilomètres à l’heure. En période de pointe, l’enrayeur pouvait être amené à exercer sur plusieurs voies.

George Dowty est l’inventeur d’un dispositif de frein de voies qui commencent à être utilisés en Allemagne en 1918 et aux États-Unis en 1924[3].

Le remplacement progressif des enrayeurs par les freins de voies des années 1920 jusqu'au début des années 1970 a supprimé les accidents et réduit les avaries de matériel dues aux chocs.

Notes et références

  1. G. Joffre, « Le trafic marchandises », Science et vie, no Numéro spécial Chemins de fer, , p. 149-150
  2. Jim Jim, The American Freight Train, MBI Publishing, (ISBN 978-0-7603-0833-2, lire en ligne), p. 63
  3. « Safety at the Switches », Popular Science Monthly, New York, Popular Science Publishing Co., vol. 107, , p. 38 (lire en ligne)

Voir aussi

Présentation

Méthode du tir au but : ancien film SNCF de présentation

Article connexe

Gare de triage

  • icône décorative Portail du chemin de fer