Ballbarrow

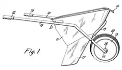
La Ballbarrow (littéralement : « brouette-ballon ») est une brouette tout-terrain lancée par James Dyson au Royaume-Uni en 1974[1]. Cette brouette, fabriquée en plastique robuste, possède une roue sphérique (comme un ballon) au lieu d'une roue traditionnelle, ce qui lui éviterait de s'enfoncer dans la boue ou dans la terre meuble. Son inventeur gagne ainsi le prix Building Design Innovation en 1977. En trois ans, elle devient leader du marché[Lequel ?][réf. nécessaire].
La ballbarrow n'est plus fabriquée actuellement.
Notes et références
- ↑ (en) « Top Ten Machines Developed by Dyson », sur The Telegraph Online, (consulté le )
- Portail des technologies
- Portail des années 1970